|
Добро пожаловать,
Гость
|
|
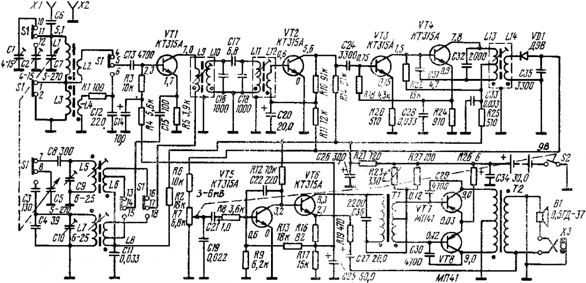
ТЕМА: Перенастройка приёмника
Перенастройка приёмника 14 Март 2015 00:22 #2332
|
Перенастройка приёмника 14 Март 2015 07:15 #2334
|
|
|
Перенастройка приёмника 14 Март 2015 14:15 #2336
|
Перенастройка приёмника 14 Март 2015 14:21 #2337
|
|
|
Перенастройка приёмника 15 Март 2015 03:06 #2388
|
|
Приземлился тут! И окончательно...
|
Перенастройка приёмника 15 Март 2015 08:02 #2390
|
|
|
Перенастройка приёмника 15 Март 2015 23:10 #2433
|
|





